2月2日,上证指数、深证成指早盘一度震荡上扬,随后回落走低,午后加速下探,尾盘快速回升,跌幅缩窄;创业板指、科创50指数早盘震荡走低,午后加速下探,尾盘快速回升,跌幅缩窄。截至收盘,上证指数报2730.15点,跌1.46%,成交额3926.61亿元;深证成指报8055.77点,跌2.24%,成交额4130.26亿元;创业板指报1550.37点,跌2.43%,成交额1658.78亿元;科创50指数报673.41点,跌2.41%,成交额503.49亿元。沪深两市合计成交8056.87亿元,成交额较上一交易日增加1026.88亿元。
资金流向
1.主力资金
Wind统计显示,沪深两市主力资金今日净流出330.06亿元。其中,创业板主力资金净流出78.37亿元,沪深300成份股主力资金净流出156.38亿元,科创板主力资金净流出15.81亿元。
从行业板块来看,申万所属的31个一级行业,今日仅有房地产1个行业板块主力资金呈现净流入,净流入金额为5.98亿元。30个行业板块主力资金呈现净流出,其中,非银金融行业板块主力资金净流出最多,净流出金额为34.11亿元;行业板块主力资金净流出靠前的还有计算机、电力设备、电子、医药生物、银行、机械设备,净流出金额分别为33.89亿元、33.52亿元、31.84亿元、27.48亿元、19.16亿元、18亿元。

个股来看,今日有1569只个股获主力资金净流入,其中,23股获主力资金净流入超5000万元。华阳智能主力资金净流入最多,净流入金额为1.64亿元;主力资金净流入居前的个股还有省广集团、丽江股份、姚记科技、开开实业、浦东金桥,流入金额分别为1.6亿元、1.27亿元、1.11亿元、0.98亿元、0.93亿元。

此外,3527只个股被主力资金净卖出,其中,45股被主力资金净卖出超1亿元。主力资金净流出最多的个股是东方财富,净流出金额为5.14亿元;主力资金净流出居前的个股还有TCL中环、贵州茅台、药明康德、隆基绿能、招商银行,净流出金额分别为4.17亿元、3.98亿元、3.96亿元、3.69亿元、3.22亿元。

2.北向资金
北向资金本周累计成交6730.97亿元,成交净买入99.38亿元。其中,沪股通合计净买入66.14亿元,深股通合计净买入33.24亿元。
从单日看,北向资金今日成交额为1599.54亿元,成交净买入23.6亿元,连续4个交易日净买入。其中,沪股通净买入12.93亿元,深股通净买入10.67亿元。
活跃个股方面,北向资金今日净买入较多的有紫金矿业、比亚迪、招商银行、中国平安、长江电力,净买入金额分别为1.44亿元、1.23亿元、1.07亿元、1.06亿元、0.81亿元。北向资金净卖出较多的有药明康德、美的集团、宁德时代、科大讯飞、五粮液,净卖出金额分别为5.75亿元、3.14亿元、2.83亿元、2.29亿元、1.8亿元。

3.龙虎榜机构资金动向
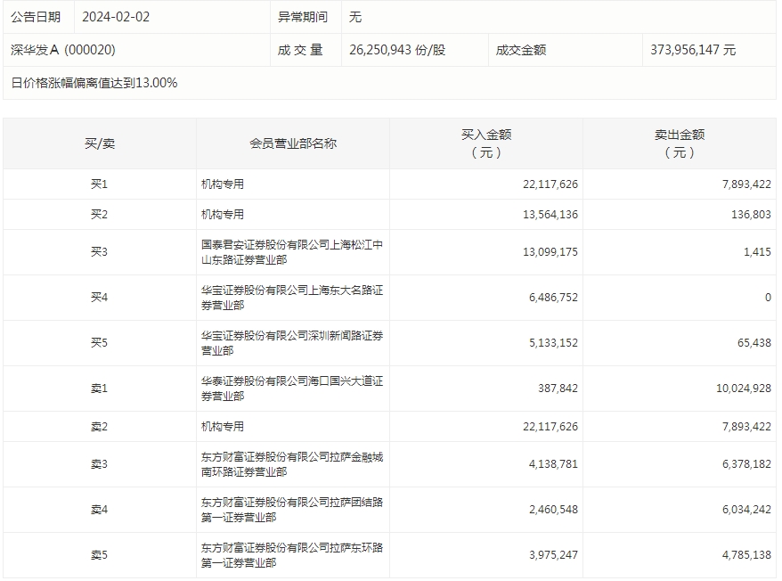
盘后龙虎榜数据显示,今日机构席位资金合计净买入约1.73亿元。其中,净买入的个股16只,净卖出的个股11只。机构净买入最多的股票是直真科技,净买入金额约6332.58万元;机构净买入居前的还有深华发A、省广集团、丽江股份等股。机构净卖出最多的股票是大智慧,净卖出金额约3161.8万元;机构净卖出居前的还有欢乐家、罗普斯金等股。

深华发A今天涨停。盘后数据显示,3个机构出现在龙虎榜单上,合计净买入4187.57万元;国泰君安证券股份有限公司上海松江中山东路证券营业部买入1309.92万元,同时卖出0.14万元;华泰证券股份有限公司海口国兴大道证券营业部买入38.78万元,同时卖出1002.49万元。

个股涨跌情况
截至收盘,沪深两市合计368只个股上涨,4704只个股下跌,平盘个股28只,停牌的个股5只。不含当日上市新股,共有27只个股涨停,117只个股跌停。连续涨停天数看,连续涨停天数超过2天的个股有6只。其中,中马传动已连收4个涨停板,连续涨停板数量最多。
从收盘涨停板封单量来看,中基健康最受追捧,收盘涨停板封单有3510.51万股;其次是山西路桥、襄阳轴承,涨停板封单分别有1749.55万股、1746.21万股。以封单金额计算,金证股份、浦东金桥、中基健康等涨停板封单资金较多,分别有1.66亿元、1.57亿元、1.48亿元。

行业板块、概念方面看,行业板块、概念跌多涨少。其中,环保、计算机、军工、电子、电力设备、医药生物、教育、化工、商贸零售等行业板块跌幅居前;钙钛矿电池、地热能、摄像头、CRO、复合集流体、汽车一体化压铸、星闪概念、发电机概念、光通信模块、有机硅等概念走势较弱。仅有银行、煤炭2个板块上涨。涨停个股主要集中在商贸零售、传媒、化工等行业。


